17.11.2016
БОРКА И МОНТАЖ ТЕЛЕСКОПИЧЕСКОЙ СТРЕЛЫ АВТОМОБИЛЬНОГО КРАНА КС-45717
Сборку стрелы производить в следующей последовательности:
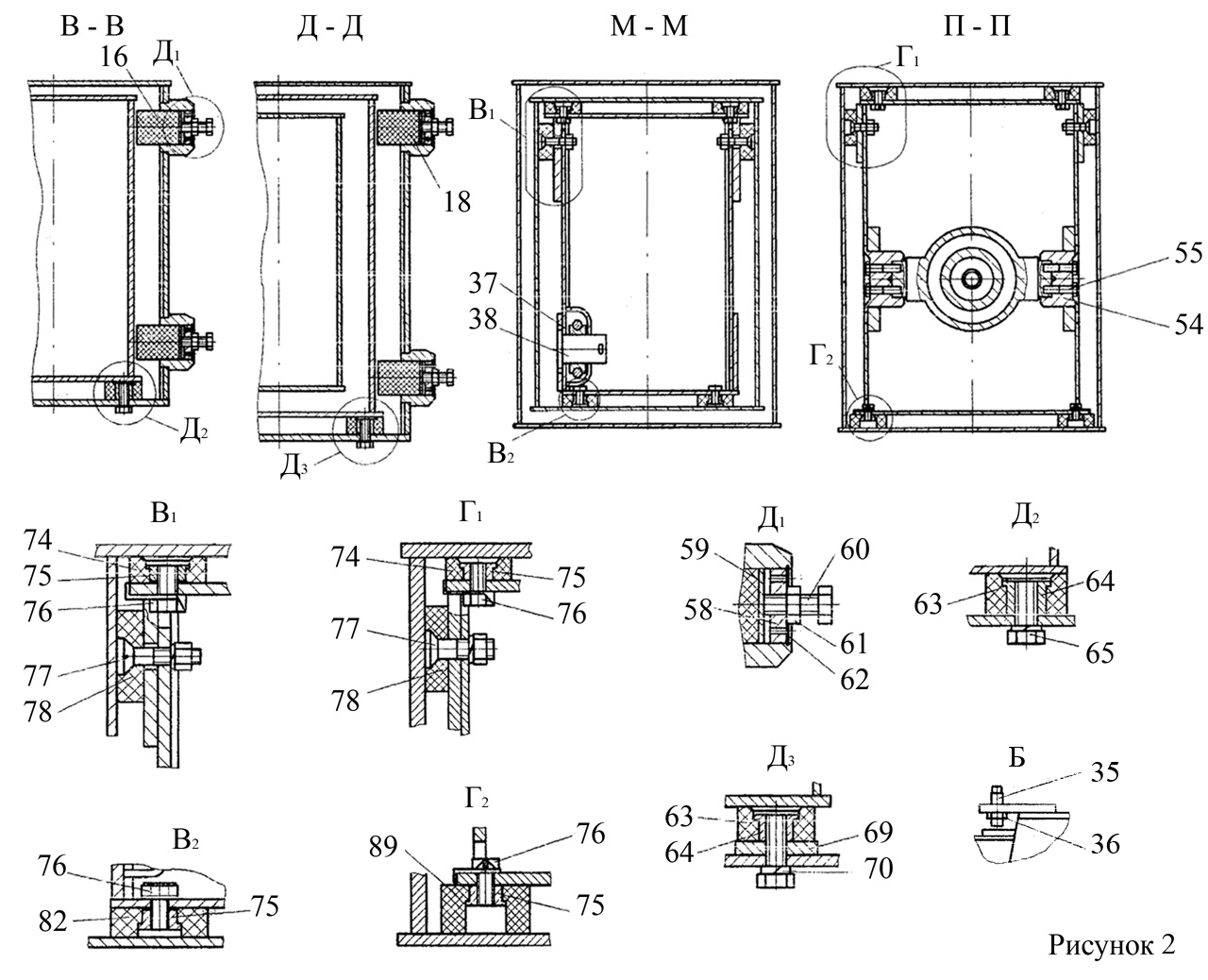
- смазать смазкой графитной УСсА ГОСТ 3333-80 внутренние поверхности основания стрелы 4 и средней секции 2, контактирующие при работе с накладками 63, 74, 82, 89, а также наружные поверхности боковых листов секций 1 и 2, контактирующих при работе с упорами 16, 18, 25 (рис. 1, 2);
- закрепить на торце гидроцилиндра 7 кронштейн 5, используя болты М12-8qх25 - 2 шт., упорную шайбу и отгибную планку (рис. 1). Планку отогнуть на головки болтов;
- расстелить канаты 6 на полу. Втулки канатов с бирками должны находиться рядом;
- снять с канатов 8 установленные ранее бандажи из проволоки;
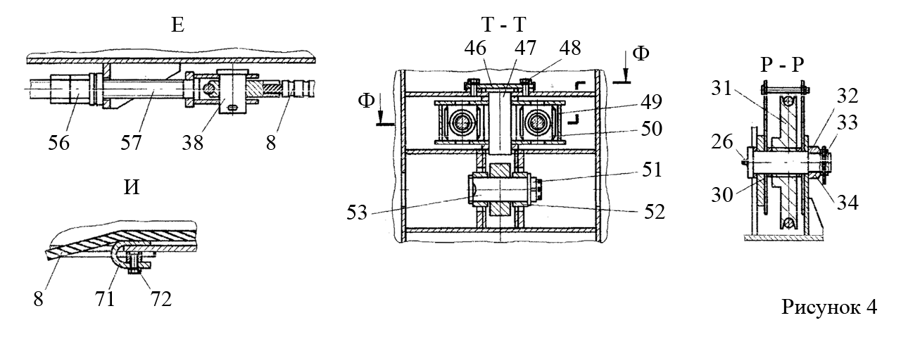
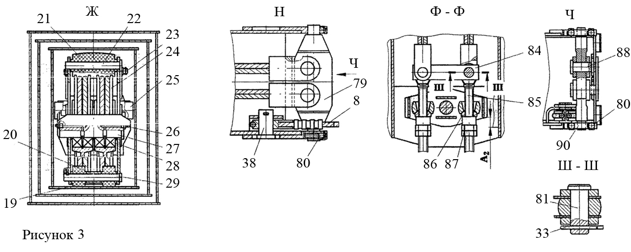
- установить с одной стороны канатов 6 (2 шт.) траверсу 79 и закрепить на ней втулки канатов осями 88 со шплинтами 8x71 (рис. 3, вид Н, Ч);
- установить с другой стороны канатов 6 во втулки канатов тяги 85 с проставными планками 84 и закрепить их осями 81 и шплинтами 33 (рис. 3, вид Ф-Ф, Ш-Ш). Тяги 85 устанавливать со стороны втулок канатов, на которых находятся бирки;
- установить канаты 6 в сборе на гидроцилиндр и завести их в кронштейн 5 (рис. 3, вид Ж);
- установить в кронштейн 5 блоки 24 с проставкой между ними и кронштейном 5 прокладок, закрепить осью 27, которую зафиксировать оседержателем и болтами М12-8qх25 (2 шт.) с отгибными шайбами (рис. 3, вид Ж);
- прошприцевать подшипники 24 блоков через масленки 26 смазкой Литол-24 ГОСТ 21150-87 (рис. 3, вид Ж);
- завести ветви каната 6 на блоки 24 и установить на кронштейн 5 ограничители от спадания каната с блоков;
- вытянуть канаты 6 на гидроцилиндре, подравнять их концы и закрепить проволокой на гидроцилиндре;
- установить на кронштейн 5 ролики 19 и 21, которые закрепить соответственно осями 22 и 29. Между роликами 19 установить проставную втулку 20. Оси зафиксировать оседержателями, которые закрепить болтами с отгибными шайбами (рис. 3, вид Ж);
- установить на кронштейн 5 два упора 25 (рис. 3, вид Ж);
- застропить гидроцилиндр 7 в сборе, поднять краном и завести кронштейном 5 в верхнюю секцию 1;
- подставить под штоковую проушину гидроцилиндра подставку и опустить на нее гидроцилиндр 7;
- застропить гидроцилиндр 7 за штоковую проушину и ввести гидроцилиндр в секцию 1;
- снять проволочные бандажи, крепящие канаты 6 на гидроцилиндре 7;
- установить в кронштейны, расположенные в задней части секции 1, траверсу 79, закрепленную на концах канатов 6, и закрепить снятыми крышками 90, болтами и отгибными шайбами (рис. 3, вид Н, Ч). Шайбы отогнуть на головки болтов и на крышки. При установке крышек соблюдать соответствие ранее нанесенных меток;
- концы канатов с тягами закрепить на гидроцилиндре 7 проволокой;
- размотать бухту каната 8 и закрепить один конец каната в кронштейне секции 1 осью 38 и шплинтом (рис. 3, вид Н). При этом выступающий из обжимной втулки конец каната должен располагаться сверху;
- закрепить временно гидроцилиндр 7 в секции 1 от продольного перемещения стопором;
- застропить и переместить секцию 1 в сборе к секции 2;
- протащить через секцию 2 свободный конец каната 8;
- установить секцию 1 в секцию 2 и на подставку, установленную под переднюю часть секции 1;
- снять ранее установленный в секции 1 стопор от продольного перемещения гидроцилиндра 7 в секции 1;
- застропить за переднюю часть секцию 1, задвинуть ее в секцию 2, не задвигая до конца 1-1,5 м и одновременно вытаскивать канат 8 из секции 2. Приподнять секцию 1;
- установить на секцию 2 две накладки 63 и закрепить их болтами М1бх30 и гайками 64 (рис. 1);
- опустить секцию 1 на накладки 63 и задвинуть в секцию 2 до упора;
- застропить, приподнять гидроцилиндр 7 в секции 2, совместить проушины гидроцилиндра 7 с отверстиями в секции 2 и закрепить втулками 54 с болтами 55 (рис. 2, вид П-П). Болты законтрить проволокой 2,0-0-4. Отстропить гидроцилиндр 7;
- установить в отверстия секции 2 упоры 16 (4 шт.), шайбы 58 и закрепить кольцами 62. Навернуть на болты 60 по гайке 61. Ввернуть болты с гайками в шайбы 58 (рис. 2);
- застропить и установить краном секцию 1 симметрично относительно накладок 63 по нижнему листу секции 1 с допуском 2 мм;
- отстропить секцию 1 и поджать упоры 16 болтами 60 с гайками 61 до соприкосновения с боковыми стенками секции 1, после чего болты 60 отвернуть на 0,5 оборота и законтрить гайками 61 (рис. 2, вид Д1);
- завести канат 8 на блок 31 секции 2, закрепить от спадания с блока ограничительными осями с шайбами и шплинтами (рис. 1, 4, вид Р-Р);
- ввернуть в секцию 2 и в гайку 36 винт 35 до упора в секцию 1, после чего винт 35 отвернуть до образования зазора 1+1 мм и законтрить гайкой 36 (рис. 1, 2, вид Б);
- застропить и переместить секцию 2 в сборе с секцией 1 к основанию стрелы 4;
- застропить секцию 2 за переднюю часть и задвинуть ее в основание 4 стрелы, не задвигая до конца 0,5 - 0,8 м. При этом необходимо поджимать канат 8 к нижнему листу секции 2, исключая перегиб и повреждение каната 8 о нижний лист основания 4;
- приподнять передний конец секции 2 до упора в верхний лист основания 4;
- вывести свободный конец каната 8 в отверстие нижнего листа основания 4;
- установить скобу 71 на основание стрелы и закрепить скобу болтом 72 с пружинной шайбой (рис. 1, 4, вид И);
- установить на основание 4 стрелы накладки 63 с планками 69, закрепить болтами М 16x40 и гайками 64 (рис. 2);
- опустить секцию 2 в сборе на накладки 63 и задвинуть в основание 4 до упора;
- установить в отверстия основания стрелы упоры 18 (4 шт.), шайбы 58 и закрепить кольцами 62. Навернуть на болты 60 по гайке 61. Ввернуть болты с гайками в шайбы 58 (рис. 2);
- застропить и установить краном секцию 2 симметрично относительно накладок 63 по нижнему листу секции 2 с допуском 2 мм;
- отстропить секцию 2 и поджать упоры 18 болтами с гайками до соприкосновения с боковыми стенками секции 2, после чего болты отвернуть на 0,5 оборота и законтрить гайками (рис. 2);
- совместить отверстия в проушине гидроцилиндра 7 с отверстиями в основании 4, закрепить осью 53 с проставными втулками 52 шайбой, гайкой 51 и шплинтом 5x63 (рис. 1, 4, вид Т-Т);
- установить в основание стрелы 4 траверсу 49 в сборе и закрепить осью 47, планкой 46 и болтами 48 с отгибными шайбами (рис. 1, 4, вид Т-Т). Шайбы отогнуть на головки болтов и на планку;
- снять временное крепление концов канатов 6 с тягами на гидроцилиндре 7;
- установить две тяги 85 каната 6 в отверстия траверсы 49, установить на тяги проставки 86, навернуть по две гайки 87 (рис. 3, вид Ф-Ф);
- создать гайками 87 натяжение канатов 6, выдержав при этом размер А2, равный 30-50 мм, законтрить гайки 87;
- установить тягу 57 в сборе с кронштейном на коуш каната 8, совместить отверстия и закрепить осью 38 со шплинтом 8x71 (рис. 1, 4, вид Е);
- закрепить конец каната 8 с тягой 57 на кронштейне основания стрелы 4 гайками 56 с шайбами;
- закрепить канат 8 от спадания с ролика основания стрелы 4 скобой;
- ввернуть в основание стрелы 4 и в гайку 36 винт 35 по упора в секцию 2, после чего винт 35 отвернуть до образования зазора 1+1 мм и законтрить гайкой 36 (рис. 1, 2, вид Б);
- отрегулировать натяжение канатов 6 и 8 в соответствии с "Руководством по эксплуатации";
- подсоединить обратный управляемый клапан к гидроцилиндру 7;
- подсоединить трубопроводы к обратному управляемому клапану, установленному на гидроцилиндре 7;
- освободить от временного крепления габаритные фонари в сборе с кронштейнами и установить их на основании стрелы 4;
- закрутить барабан датчика длины на 4-4,5 оборота от свободного состояния барабана в направлении, указанном стрелкой на барабане, снять с барабана необходимое число витков жгута проводов и закрепить этот жгут проводов на оголовке секции 1, не допуская при этом раскручивания барабана. Во избежание поломки возвратной пружины датчика, вращение барабана в направлении, противоположном указанному стрелкой на барабане, ЗАПРЕЩАЕТСЯ;
- соединить штепсельный разъем и штекерные соединения проводов на оголовке стрелы;
- закрепить на оголовке стрелы жгут проводов.
Монтаж стрелы на кран производить в следующей последовательности:
- застропить стрелу в сборе, поднять и переместить, обеспечив совмещение отверстий в основании стрелы и в поворотной платформе под ось 9 (рис. 5);
- вставить ось 9 в совмещенные отверстия и закрепить с одной стороны двумя гайками 7 с шайбой 8, а с другой стороны - оседержателем 13, который закрепить болтом 11 с отгибной шайбой. Шайбу отогнуть на головку болта и на оседержатель;
- опустить стрелу на стойку поддержки стрелы;
- застропить гидроцилиндр 4 (рис. 5) и поднять незакрепленную часть гидроцилиндра до совмещения отверстий в проушине штока гидроцилиндра и в кронштейне на основании стрелы;
- вставить в совмещенные отверстия ось 17 и закрепить ее двумя гайками 15 с шайбой 16;
- подсоединить к гидроцилиндру 7 и обратному управляемому клапану, установленному на гидроцилиндре 7 рукава высокого давления;
- подсоединить штепсельные разъемы «L» и «Угол» на блоке обработки данных ограничителя нагрузки ОНК-140;
- подсоединить провода, проложенные по стреле к клеммному набору на поворотной платформе, в соответствии с имеющейся маркировкой;
- прошприцевать подшипники скольжения осей 9, 14 и 17 (рис. 5);
- завести двигатель шасси, включить привод насоса и, работая лебедкой, смотать с барабана лебедки необходимое количество каната;
- положить под оголовком стрелы основную крюковую подвеску;
- запасовать грузовой канат в блоках оголовка стрелы и основной крюковой подвески с кратностью 5 или 8;
- закрепить на конце грузового каната 2 клиновую обойму 21 и зажим 27;
- закрепить конец каната 2 на основной крюковой подвеске 1, используя ось 20, шайбу 16, гайку 18 и кольцо 19.




